产品介绍:
蝶式止回阀是指依靠介质本身流动而自动开、闭阀瓣,用来防止介质倒流的阀门。止回阀属于一种自动阀门,其主要作用是防止介质倒流、防止泵及驱动电动机反转,以及容器介质的泄放。止回阀还可用于给其中的压力可能升至超过系统压的辅助系统提供补给的管路上。止回阀主要可分为旋启式止回阀(依重心旋转)与升降式止回阀(沿轴线移动)。

主要参数(Main of Parameters):
公称通径(DN):50-600mm
压力(Mpa):ANSI Class 150-600

|
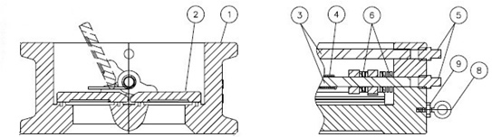
代号 |
名称 |
材质 |
数量 |
|
1 |
阀体 |
球铁 |
1 |
|
2 |
阀瓣 |
304不锈钢 |
2 |
|
3 |
轴 |
304不锈钢 |
2 |
|
4 |
弹簧 |
316不锈钢 |
2 |
|
5 |
栓塞 |
304不锈钢 |
4 |
|
6 |
垫圈 |
304不锈钢 |
随机 |
|
7 |
铭牌 |
铝 |
1 |
|
8 |
环头螺钉 |
铁 |
2 |
|
9 |
六角螺栓 |
铁 |
2 |